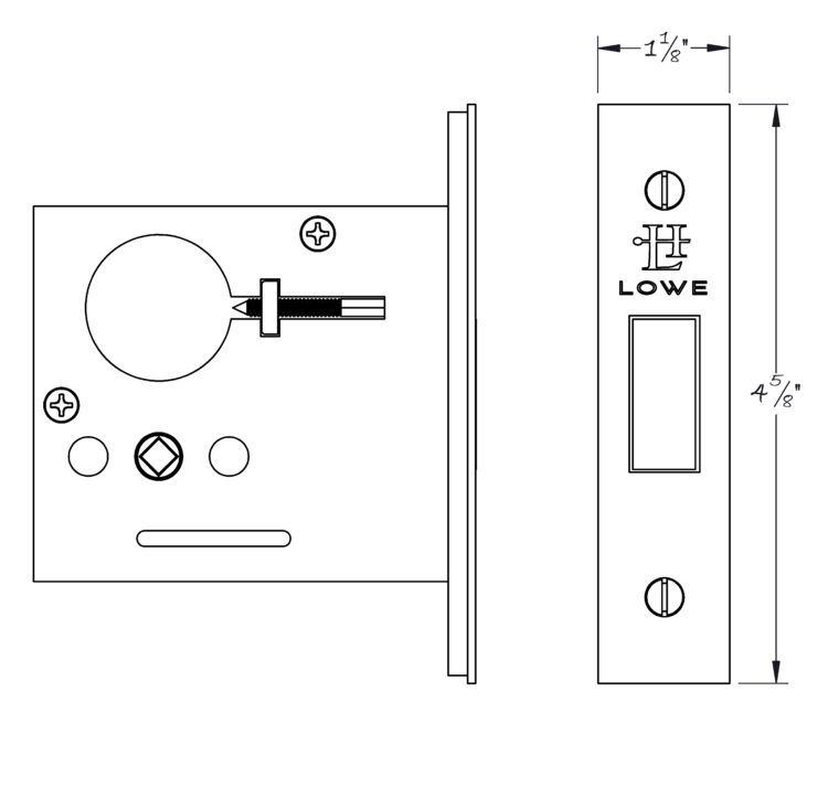
The Lowe 903 full mortise auxiliary deadbolt is available in 2-1/2”, and 2-3/4” backsets. The 903 can be used as an additional auxiliary deadbolt on exterior doors where additional security is desired, or on interior doors for both privacy and security. The lock can be configured to work with mortise cylinders, thumbturns, or emergency release trim. It is supplied with a strikeplate and stamped metal dustbox, and the faceplate has an adjustable bevel.
Available in any of our yacht quality finishes.
