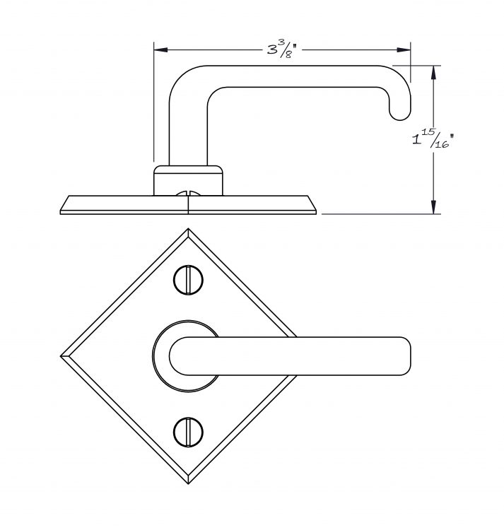
The 6004 lever represents an ideal balance between minimalistic design and pragmatic functionality. On board a yacht, the slight hook at the grip’s end prevents items from being caught between the lever and door. In its standard size this piece is ideal for production boat head doors and hanging lockers.
